Цена: по запросу
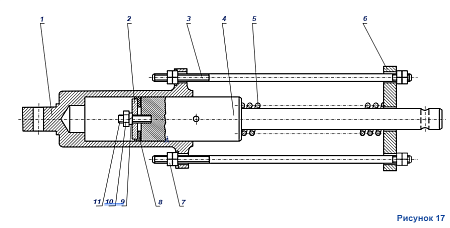
№ детали на рисунке: 4
В наличии
Шток 1080.05.705
Цена: по запросу
Заказать товар
Кол-во на сборочную единицу
Масса, кг
№ чертежа
1
10.50
1080.05.705
Условия доставки запчастей
Часто ищут
В наличии
Цена: по запросу
В наличии
Цена: по запросу
В наличии
Цена: по запросу
Нужна консультация?
Наши специалисты ответят на любой интересующий вопрос
Задать вопрос
