ЗАО ГК
Продукция
  • Экскаватор ЭКГ‑5А — механическая часть
    • Оборудование рабочее
    • Платформа с механизмами
    • Тележка ходовая
  • Экскаватор ЭКГ‑5А — электрооборудование
    • Рама нижняя
    • Стрела
    • Кабина машиниста
    • Поворотная платформа
  • Экскаватор ЭКГ-10
    • Установка транспортного кондиционера
    • Кабина машиниста
    • Тележка ходовая
    • Установка кабельного барабана
    • Площадка двуногой стойки
    • Установка вспомогательной лебедки
    • Подвеска стрелы
    • Стойка двуногая
    • Установка конечного выключателя механизма подъема
    • Стрела
    • Лестницы и площадки на стреле
    • Подвеска ковша
    • Ковш 10 м³
    • Ковш 8 м³
    • Механизм открывания днища ковша
    • Рукоять
    • Ограждения и лестницы кузова и поворотной платформы
    • Платформа поворотная
    • Лебедка напора
    • Круг роликовый
    • Лебедка подъема
    • Кузов
    • Привод механизма поворота
    • Система пневматическая и смазывания
    • Доработка деталей ЭКГ-10 для централизованной системы смазки фирмы "линкольн"
    • Цапфа центральная
    • Установка шкафов и станции управления
Услуги
  • Экскаватор ЭКГ-5А
    • Наладка приводов
    • Монтаж и наладка
  • Запчасти
    • Изготовление по чертежам
    • Производство деталей на 3D-принтере
  • Электромашины
    • Ремонт
  • Горное оборудование
    • Комиссионное обследование карьерных экскаваторов
Компания
  • О компании
  • Документы
Контакты
Ещё
    Задать вопрос
    Личный кабинет
    +7 (343) 243-60-45
    Заказать звонок
    info@aviteks66.ru
    620098, г. Екатеринбург, ул. Индустрии, д. 104, оф. 301
    ЗАО ГК
    Запчасти к горному оборудованию
    Монтаж,наладка экскаваторов ЭКГ-5А
    +7 (343) 243-60-45
    Заказать звонок
    Личный кабинет
    Продукция
    • Экскаватор ЭКГ‑5А — механическая часть
      Экскаватор ЭКГ‑5А — механическая часть
      • Оборудование рабочее —
      • Платформа с механизмами —
      • Тележка ходовая
    • Экскаватор ЭКГ‑5А — электрооборудование
      Экскаватор ЭКГ‑5А — электрооборудование
      • Рама нижняя —
      • Стрела —
      • Кабина машиниста —
      • Поворотная платформа
    • Экскаватор ЭКГ-10
      Экскаватор ЭКГ-10
      • Установка транспортного кондиционера —
      • Кабина машиниста —
      • Тележка ходовая —
      • Установка кабельного барабана —
      • Площадка двуногой стойки —
      • Установка вспомогательной лебедки —
      • Подвеска стрелы —
      • Стойка двуногая —
      • Установка конечного выключателя механизма подъема —
      • Стрела —
      • Лестницы и площадки на стреле —
      • Подвеска ковша —
      • Ковш 10 м³ —
      • Ковш 8 м³ —
      • Механизм открывания днища ковша —
      • Рукоять —
      • Ограждения и лестницы кузова и поворотной платформы —
      • Платформа поворотная —
      • Лебедка напора —
      • Круг роликовый —
      • Лебедка подъема —
      • Кузов —
      • Привод механизма поворота —
      • Система пневматическая и смазывания —
      • Доработка деталей ЭКГ-10 для централизованной системы смазки фирмы "линкольн" —
      • Цапфа центральная —
      • Установка шкафов и станции управления
      • + Ещё 17
    Услуги
    • Экскаватор ЭКГ-5А
      Экскаватор ЭКГ-5А
      • Наладка приводов —
      • Монтаж и наладка
    • Запчасти
      Запчасти
      • Изготовление по чертежам —
      • Производство деталей на 3D-принтере
    • Электромашины
      Электромашины
      • Ремонт
    • Горное оборудование
      Горное оборудование
      • Комиссионное обследование карьерных экскаваторов
    Компания
    • О компании
    • Документы
    Контакты
      ЗАО ГК
      Продукция
      • Экскаватор ЭКГ‑5А — механическая часть
        Экскаватор ЭКГ‑5А — механическая часть
        • Оборудование рабочее —
        • Платформа с механизмами —
        • Тележка ходовая
      • Экскаватор ЭКГ‑5А — электрооборудование
        Экскаватор ЭКГ‑5А — электрооборудование
        • Рама нижняя —
        • Стрела —
        • Кабина машиниста —
        • Поворотная платформа
      • Экскаватор ЭКГ-10
        Экскаватор ЭКГ-10
        • Установка транспортного кондиционера —
        • Кабина машиниста —
        • Тележка ходовая —
        • Установка кабельного барабана —
        • Площадка двуногой стойки —
        • Установка вспомогательной лебедки —
        • Подвеска стрелы —
        • Стойка двуногая —
        • Установка конечного выключателя механизма подъема —
        • Стрела —
        • Лестницы и площадки на стреле —
        • Подвеска ковша —
        • Ковш 10 м³ —
        • Ковш 8 м³ —
        • Механизм открывания днища ковша —
        • Рукоять —
        • Ограждения и лестницы кузова и поворотной платформы —
        • Платформа поворотная —
        • Лебедка напора —
        • Круг роликовый —
        • Лебедка подъема —
        • Кузов —
        • Привод механизма поворота —
        • Система пневматическая и смазывания —
        • Доработка деталей ЭКГ-10 для централизованной системы смазки фирмы "линкольн" —
        • Цапфа центральная —
        • Установка шкафов и станции управления
        • + Ещё 17
      Услуги
      • Экскаватор ЭКГ-5А
        Экскаватор ЭКГ-5А
        • Наладка приводов —
        • Монтаж и наладка
      • Запчасти
        Запчасти
        • Изготовление по чертежам —
        • Производство деталей на 3D-принтере
      • Электромашины
        Электромашины
        • Ремонт
      • Горное оборудование
        Горное оборудование
        • Комиссионное обследование карьерных экскаваторов
      Компания
      • О компании
      • Документы
      Контакты
        ЗАО ГК
        • Мой кабинет
        • Продукция
          • Назад
          • Продукция
          • Экскаватор ЭКГ‑5А — механическая часть
            • Назад
            • Экскаватор ЭКГ‑5А — механическая часть
            • Оборудование рабочее
            • Платформа с механизмами
            • Тележка ходовая
          • Экскаватор ЭКГ‑5А — электрооборудование
            • Назад
            • Экскаватор ЭКГ‑5А — электрооборудование
            • Рама нижняя
            • Стрела
            • Кабина машиниста
            • Поворотная платформа
          • Экскаватор ЭКГ-10
            • Назад
            • Экскаватор ЭКГ-10
            • Установка транспортного кондиционера
            • Кабина машиниста
            • Тележка ходовая
            • Установка кабельного барабана
            • Площадка двуногой стойки
            • Установка вспомогательной лебедки
            • Подвеска стрелы
            • Стойка двуногая
            • Установка конечного выключателя механизма подъема
            • Стрела
            • Лестницы и площадки на стреле
            • Подвеска ковша
            • Ковш 10 м³
            • Ковш 8 м³
            • Механизм открывания днища ковша
            • Рукоять
            • Ограждения и лестницы кузова и поворотной платформы
            • Платформа поворотная
            • Лебедка напора
            • Круг роликовый
            • Лебедка подъема
            • Кузов
            • Привод механизма поворота
            • Система пневматическая и смазывания
            • Доработка деталей ЭКГ-10 для централизованной системы смазки фирмы "линкольн"
            • Цапфа центральная
            • Установка шкафов и станции управления
        • Услуги
          • Назад
          • Услуги
          • Экскаватор ЭКГ-5А
            • Назад
            • Экскаватор ЭКГ-5А
            • Наладка приводов
            • Монтаж и наладка
          • Запчасти
            • Назад
            • Запчасти
            • Изготовление по чертежам
            • Производство деталей на 3D-принтере
          • Электромашины
            • Назад
            • Электромашины
            • Ремонт
          • Горное оборудование
            • Назад
            • Горное оборудование
            • Комиссионное обследование карьерных экскаваторов
        • Компания
          • Назад
          • Компания
          • О компании
          • Документы
        • Контакты
        • +7 (343) 243-60-45
        info@aviteks66.ru
        620098, г. Екатеринбург, ул. Индустрии, д. 104, оф. 301
        • Главная
        • Продукция
        • Экскаватор ЭКГ‑5А — электрооборудование
        • Поворотная платформа
        • Блок сопртивлений
        • Сопротивление типа СР-300, СР-300Т, 1,8 Ом 2.310.28 (СР-331)
        • Сопротивление типа СР-300, СР-300Т,  1,8 Ом 2.310.28 (СР-331)

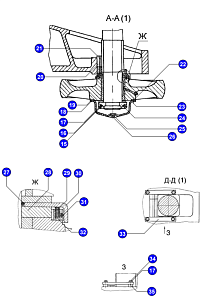
        № детали на рисунке: 2

        В наличии

        Сопротивление типа СР-300, СР-300Т, 1,8 Ом 2.310.28 (СР-331)

        Цена: по запросу

        Заказать товар
        +7 (343) 243-60-45

        Консультация и заказ по телефону

        Заказать обратный звонок

        № чертежа

        2.310.28 (СР-331)

        Условия доставки запчастей

        Часто ищут

        Прокладка 3519.00.09.006

        В наличии

        Прокладка 3519.00.09.006

        Цена: по запросу

        Защита стрелы 1085.05.400-1CБ

        В наличии

        Защита стрелы 1085.05.400-1CБ

        Цена: по запросу

        Отливка нижняя 3532.03.02.102

        В наличии

        Отливка нижняя 3532.03.02.102

        Цена: по запросу

        Диск защитный 3519.05.02.700

        В наличии

        Диск защитный 3519.05.02.700

        Цена: по запросу

        Нужна консультация?

        Наши специалисты ответят на любой интересующий вопрос

        Задать вопрос
        Поделиться
        Назад к списку
        Услуги
        Экскаватор ЭКГ-5А
        Запчасти
        Электромашины
        Горное оборудование
        Продукция
        Экскаватор ЭКГ‑5А — механическая часть
        Экскаватор ЭКГ‑5А — электрооборудование
        Экскаватор ЭКГ-10
        Компания
        О компании
        Документы
        Контакты
        +7 (343) 243-60-45
        Заказать звонок
        info@aviteks66.ru
        620098, г. Екатеринбург, ул. Индустрии, д. 104, оф. 301
        Политика конфиденциальности
        © 2026 АО ГК "АВИТЕКС" Все права защищены.