В наличии
Цена: по запросу
В наличии
Цена: по запросу
Масса, кг
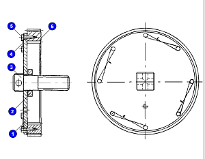
№ чертежа
67.2
1085.21.00-ЗCБ
В наличии
Цена: по запросу
В наличии
Цена: по запросу
В наличии
Цена: по запросу
В наличии
Цена: по запросу
Нужна консультация?
Наши специалисты ответят на любой интересующий вопрос
