В наличии
Цена: по запросу
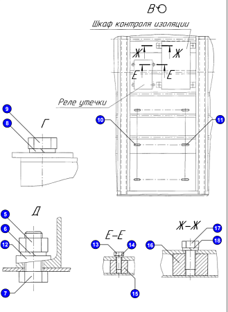
№ детали на рисунке: 10
В наличии
Цена: по запросу
Масса, кг
№ чертежа
Модель
0.09
3532.18.01.530
эг-10р
В наличии
Цена: по запросу
В наличии
Цена: по запросу
Цена: по запросу
В наличии
Цена: по запросу
Нужна консультация?
Наши специалисты ответят на любой интересующий вопрос
