Цена: по запросу
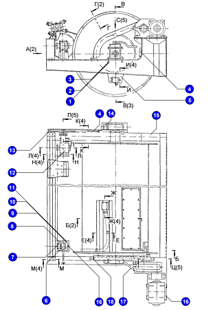
№ детали на рисунке: 5
В наличии
Лист 3660.28.00.028
Цена: по запросу
Заказать товар
Масса, кг
№ чертежа
3.9
3660.28.00.028
Условия доставки запчастей
Часто ищут
В наличии
Цена: по запросу
В наличии
Цена: по запросу
В наличии
Цена: по запросу
Нужна консультация?
Наши специалисты ответят на любой интересующий вопрос
Задать вопрос
