В наличии
Цена: по запросу
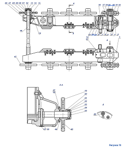
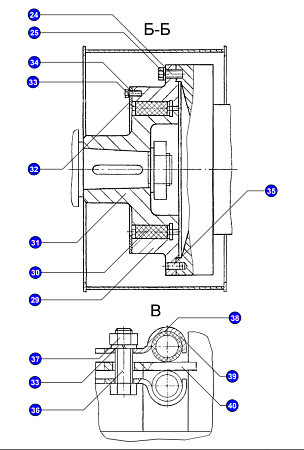
№ детали на рисунке: 40
В наличии
Цена: по запросу
Масса, кг
№ чертежа
0.792
3532.14.02.000
В наличии
Цена: по запросу
В наличии
Цена: по запросу
Цена: по запросу
В наличии
Цена: по запросу
Нужна консультация?
Наши специалисты ответят на любой интересующий вопрос
