В наличии
Цена: по запросу
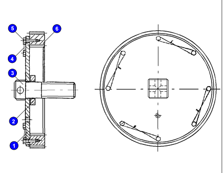
№ детали на рисунке: 5
В наличии
Цена: по запросу
Масса, кг
№ чертежа
0.098
1.1016.052
В наличии
Цена: по запросу
В наличии
Цена: по запросу
Цена: по запросу
В наличии
Цена: по запросу
Нужна консультация?
Наши специалисты ответят на любой интересующий вопрос
