Цена: по запросу
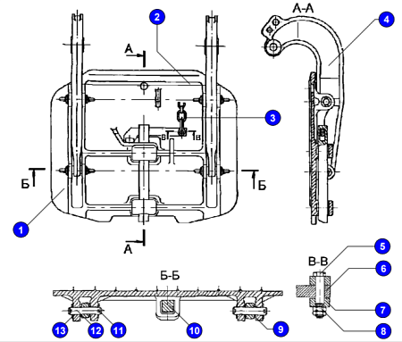
№ детали на рисунке: 6
В наличии
Рычаг 3536.01.02.050
Цена: по запросу
Заказать товар
Масса, кг
№ чертежа
32
3536.01.02.050
Условия доставки запчастей
Часто ищут
В наличии
Цена: по запросу
В наличии
Цена: по запросу
В наличии
Цена: по запросу
Нужна консультация?
Наши специалисты ответят на любой интересующий вопрос
Задать вопрос
