В наличии
Цена: по запросу
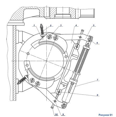
№ детали на рисунке: 5
В наличии
Цена: по запросу
Кол-во на сборочную единицу
Масса, кг
№ чертежа
4
2
1080.05.719
В наличии
Цена: по запросу
В наличии
Цена: по запросу
В наличии
Цена: по запросу
В наличии
Цена: по запросу
Нужна консультация?
Наши специалисты ответят на любой интересующий вопрос
