В наличии
Цена: по запросу
В наличии
Цена: по запросу
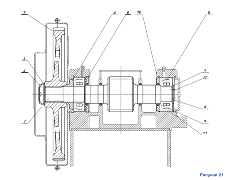
Масса, кг
№ чертежа
474
1085.55.З50-1CБ
В наличии
Цена: по запросу
В наличии
Цена: по запросу
В наличии
Цена: по запросу
В наличии
Цена: по запросу
Нужна консультация?
Наши специалисты ответят на любой интересующий вопрос
